Штега
Список продуктов
Данный раздел/документ содержится в продуктах:
Данный раздел/документ содержится в продуктах:
- Техэксперт: Нормы, правила, стандарты и законодательство России
- Техэксперт: Нефтегазовый комплекс
- Техэксперт: Машиностроительный комплекс
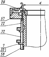
ШТЕГА
Деталь пластинчатой формы, предназначенная для образования стенки паза в игольном цилиндре (см. черт.1)

Черт.1
"ГОСТ 25155-82 (СТ СЭВ 2806-80) Машины вязальные. Термины и определения" от 26.02.1982 г.



