0 продуктов

Авторизация

Платинное кольцо

Список продуктов
Данный раздел/документ содержится в продуктах:


ПЛАТИННОЕ КОЛЬЦО

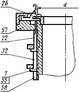
Деталь кольцеобразной формы с пазами для платин кругловязальной машины (см. черт.1)





Черт.1 

"ГОСТ 25155-82 (СТ СЭВ 2806-80) Машины вязальные. Термины и определения" от 26.02.1982 г.

Категории продуктов

 

 

 

Знакомьтесь, "Техэксперт"

 Техэксперт для iPad

 Для Android

АКЦИЯ!

Бесплатный доступ