Двухцилиндровая кругловязальная машина
Список продуктов
Данный раздел/документ содержится в продуктах:
Данный раздел/документ содержится в продуктах:
- Техэксперт: Нормы, правила, стандарты и законодательство России
- Техэксперт: Нефтегазовый комплекс
- Техэксперт: Машиностроительный комплекс
ДВУХЦИЛИНДРОВАЯ КРУГЛОВЯЗАЛЬНАЯ МАШИНА
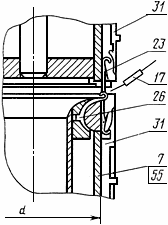
Двухфонтурная кругловязальная машина с двухголовочными иглами, расположенными в пазах одного из цилиндров, которые находятся против пазов второго цилиндра (см. черт.2)

Черт.2
"ГОСТ 25155-82 (СТ СЭВ 2806-80) Машины вязальные. Термины и определения" от 26.02.1982 г.



