0 продуктов

Авторизация

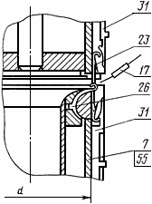
Платина вязальной машины

Список продуктов
Данный раздел/документ содержится в продуктах:


ПЛАТИНА ВЯЗАЛЬНОЙ МАШИНЫ

Петлеобразующий орган пластинчатой формы, предназначенный для формирования, оттягивания и (или) удерживания петель при петлеобразовании (см. черт.1, 2)





Черт.1





Черт.2 

"ГОСТ 25155-82 (СТ СЭВ 2806-80) Машины вязальные. Термины и определения" от 26.02.1982 г.

Категории продуктов

 

 

 

Знакомьтесь, "Техэксперт"

 Техэксперт для iPad

 Для Android

АКЦИЯ!

Бесплатный доступ