0 продуктов

Авторизация

Колпачковый зажим

Список продуктов
Данный раздел/документ содержится в продуктах:


КОЛПАЧКОВЫЙ ЗАЖИМ

(mantle terminal)

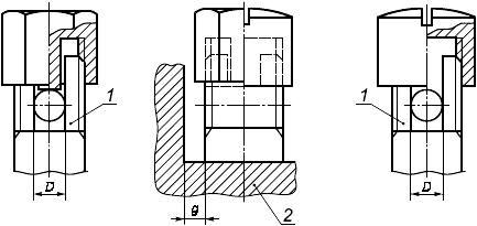
Контактный зажим винтового типа, в котором жила кабеля, шнура или провода прижимается к вырезу в резьбовом болте с помощью гайки. Жила прижимается к вырезу шайбой особой формы с помощью гайки с центральным штифтом, если гайка является колпачковой, или другим эквивалентным эффективным средством для передачи давления от гайки на жилу в пределах паза (см. рисунок 5).


1 - неподвижная деталь; 2 - деталь соединителя с отверстием для контактного зажима; D - место расположения проводника

Сечение проводника в зажиме, мм

Категории продуктов

 

 

 

Знакомьтесь, "Техэксперт"

 Техэксперт для iPad

 Для Android

АКЦИЯ!

Бесплатный доступ