Входной сигнал
Список продуктов
Данный раздел/документ содержится в продуктах:
Данный раздел/документ содержится в продуктах:
- Техэксперт: Охрана труда
- Техэксперт: Промышленная безопасность
- Техэксперт: Нормы, правила, стандарты и законодательство России
- Техэксперт: Нефтегазовый комплекс
- Техэксперт: Машиностроительный комплекс
- Техэксперт: Электроэнергетика
- Техэксперт: Теплоэнергетика
- Стройэксперт. "Вариант Лидер"
- Техэксперт: Эксплуатация зданий
- Стройтехнолог
ВХОДНОЙ СИГНАЛ
(input signal)
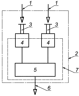
Внешний сигнал, передаваемый исполнительному органу оператором с помощью рук (см. рисунок 1).
1 - входной сигнал; 2 - двуручное устройство управления; 3 - орган управления; 4 - преобразователь сигналов; 5 - выходное устройство; 6 - выходной сигнал; 7 - логический блок
Рисунок 1 - Схема двуручного устройства управления
ВХОДНОЙ СИГНАЛ



