Реперная точка
Список продуктов
Данный раздел/документ содержится в продуктах:
Данный раздел/документ содержится в продуктах:
- Техэксперт: Нормы, правила, стандарты и законодательство России
- Техэксперт: Нефтегазовый комплекс
- Техэксперт: Машиностроительный комплекс
- Техэксперт: Электроэнергетика
- Техэксперт: Теплоэнергетика
- Стройэксперт. "Вариант Лидер"
- Техэксперт: Эксплуатация зданий
- Стройтехнолог
РЕПЕРНАЯ ТОЧКА
Постоянная температура, характеризующая состояние фазового равновесия различных однокомпонентных веществ.
РЕПЕРНАЯ ТОЧКА
(datum)
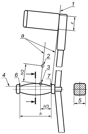
Точка на верхней поверхности рукоятки, отстоящая на одну треть ее длины от задней контрольной точки. См. рисунок 2, обозначение 3.

1 - линия опоры манжеты; 2 - точка сустава запястья; 3 - реперная точка; 4 - линия опоры рукоятки; 5 - ширина рукоятки; 6 - передняя контрольная точка рукоятки; 7 - задняя контрольная точка рукоятки; - длина рукоятки;
- внутренняя высота манжеты



