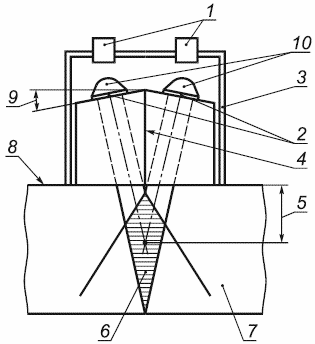
Раздельно-совмещенный преобразователь
Список продуктов
Данный раздел/документ содержится в продуктах:
Данный раздел/документ содержится в продуктах:
- Техэксперт: Промышленная безопасность
- Техэксперт: Нормы, правила, стандарты и законодательство России
- Техэксперт: Нефтегазовый комплекс
- Техэксперт: Машиностроительный комплекс
- Техэксперт: Электроэнергетика
- Техэксперт: Теплоэнергетика
- Стройэксперт. "Вариант Лидер"
- Техэксперт: Эксплуатация зданий
- Стройтехнолог
РАЗДЕЛЬНО-СОВМЕЩЕННЫЙ ПРЕОБРАЗОВАТЕЛЬ
en double transducer probe, twin transducer probe, dual search unit
fr traducteur et
Преобразователь, совмещающий в одном корпусе два отдельных акустически изолированных первичных преобразователя, один из которых служит для излучения, а другой - для приема ультразвуковых волн (см. рисунок 8).




