Расстояние схождения
Список продуктов
Данный раздел/документ содержится в продуктах:
Данный раздел/документ содержится в продуктах:
- Техэксперт: Промышленная безопасность
- Техэксперт: Нормы, правила, стандарты и законодательство России
- Техэксперт: Нефтегазовый комплекс
- Техэксперт: Машиностроительный комплекс
- Техэксперт: Электроэнергетика
- Техэксперт: Теплоэнергетика
- Стройэксперт. "Вариант Лидер"
- Техэксперт: Эксплуатация зданий
- Стройтехнолог
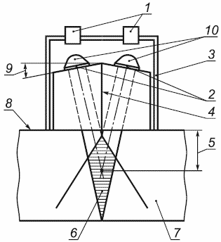
РАССТОЯНИЕ СХОЖДЕНИЯ
en convergence distance
fr distance de convergence
Расстояние между поверхностью ввода объекта контроля и точкой пересечения центральных лучей излучающей и приемной частей раздельно-совмещенного преобразователя (см. рисунок 8).

1 - разъем; 2 - первичный преобразователь; 3 - корпус; 4 - акустический экран; 5 - расстояние схождения; 6 - зона схождения; 7 - объект контроля; 8 - поверхность ввода; 9 - угол наклона призмы; 10 - демпфер
Рисунок 8 - Конструкция и ход лучей в раздельно-совмещенном преобразователе



