0 продуктов

Авторизация

Внеосевая рефракция

Список продуктов
Данный раздел/документ содержится в продуктах:


ВНЕОСЕВАЯ РЕФРАКЦИЯ

En off-axis power

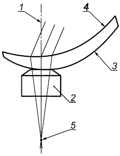
ФНО/пучок по нормали к базовой поверхности: Рефракция, измеряемая вне оптической оси очковой линзы и задаваемая величиной, обратной расстоянию между базовой поверхностью линзы (3) и главным фокусом (или одной из главных фокальных линий) (5) на нормали к этой поверхности, причем параллельный пучок света падает на противоположную поверхность (4) или покидает ее (см. рисунок 6.1).


Передняя внеосевая рефракция



Задняя внеосевая рефракция



1 - ось диоптриметра, перпендикулярная к базовой поверхности; 2 - упор; 3 - базовая поверхность, равная передней поверхности при измерении передней внеосевой рефракции и равная задней поверхности при измерении задней внеосевой рефракции; 4 - противоположная поверхность линзы; 5 - фокус пучка, находящийся на оси диоптриметра (1)

Рисунок 6.1 - ФНО / пучок по нормали к базовой поверхности

Категории продуктов

 

 

 

Знакомьтесь, "Техэксперт"

 Техэксперт для iPad

 Для Android

АКЦИЯ!

Бесплатный доступ