Диоптриметр с бесконечностью на оси (БНО-диоптриметр)
Данный раздел/документ содержится в продуктах:
- Техэксперт: Нормы, правила, стандарты и законодательство России
- Техэксперт: Нефтегазовый комплекс
- Техэксперт: Машиностроительный комплекс
ДИОПТРИМЕТР С БЕСКОНЕЧНОСТЬЮ НА ОСИ (БНО-ДИОПТРИМЕТР)
En Infinite-on-axis focimeter, lOA focimeter
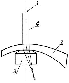
Диоптриметр, в котором коллимированный пучок совпадает с осью диоптриметра, а фокус пучка уходит с оси диоптриметра при измерении испытуемой линзы в той ее точке, где призматическое действие не равно нулю (см. рисунок 5).

1 - оптическая ось диоптриметра; 2 - линза;
3 - упор; 4 - коллимированный пучок,
совпадающий с оптической осью
Рисунок 5 - БНО-диоптриметр
Примечание 1 - Подобную конструкцию имеют некоторые автоматические диоптриметры.
Примечание 2 - Между измерениями, выполненными БНО- и ФНО-диоптриметрами в точке линзы с ненулевым призматическим действием, может возникать расхождение. Это происходит из-за разного наклона пучка лучей, проходящего через линзу, вследствие призматического действия в таких точках.



