Диоптриметр с фокусом на оси (ФНО-диоптриметр)
Список продуктов
Данный раздел/документ содержится в продуктах:
Данный раздел/документ содержится в продуктах:
- Техэксперт: Нормы, правила, стандарты и законодательство России
- Техэксперт: Нефтегазовый комплекс
- Техэксперт: Машиностроительный комплекс
ДИОПТРИМЕТР С ФОКУСОМ НА ОСИ (ФНО-ДИОПТРИМЕТР)
En focal-point-on-axis focimeter, FOA focimeter
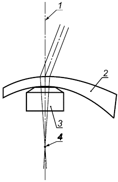
Диоптриметр, в котором фокус пучка остается на оси диоптриметра при измерении испытуемой линзы в той ее точке, где призматическое действие не равно нулю (см. рисунок 4).

1 - оптическая ось диоптриметра; 2 - линза;
3 - упор; 4 - фокус на оптической оси
Рисунок 4 - ФНО-диоптриметр
Примечание - Подобную конструкцию имеют все ручные и некоторые автоматические диоптриметры.



