
Вы нашли документ, содержащийся в электронной базе документов - "ТЕХЭКСПЕРТ"!
Краны козловые двухбалочные Г/П 12,5 - 20/5Т, управлением из кабины, с пола или по радиоканалу
Данный раздел/документ содержится в продуктах:
Краны козловые двухбалочные Г/П 12,5 - 20/5Т, управлением из кабины, с пола или по радиоканалу
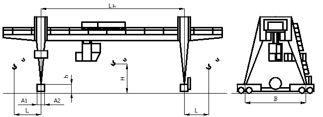
Козловые двухбалочные краны предназначены для эксплуатации на открытых складах, железнодорожных станциях и т. п. Управляются краны из кабины, закрепленной на одной из опор или из передвижной кабины, с пола или по радиоканалу. Краны изготавливаются для эксплуатации в режиме работы А2, А5 и А6.
По желанию заказчика на кранах может устанавливаться ограничитель грузоподъемности с регистратором параметров, на кранах режима работы А6 установка ограничителя грузоподъемности обязательна.
Краны питаются от сети переменного тока напряжением 380 В и частотой 50 Гц. Токоподвод - гибким кабелем. Механизмы подъема и передвижения тележки располагаются непосредственно на тележке.
Скачать документ нельзя - можно заказать Бесплатно! 1 документ
Документ будет отправлен на указанный Вами e-mail в течение 3 рабочих дней*
Часы работы: с Пн по Пт с 8:30 до 17:30 по московскому времени.
или
Посмотреть возможности крупнейшей электронной библиотеки "Техэксперт" - более 8 000 000 документов!



