
Вы нашли документ, содержащийся в электронной базе документов - "ТЕХЭКСПЕРТ"!
Краны мостовые электрические опорные
Данный раздел/документ содержится в продуктах:
Краны мостовые электрические опорные ГОСТ 22045
1. Краны мостовые опорные г/п 1; 2; 3,2 и 5т
Все параметры кранов уточняются при заказе.
- Режим работы А3 ИСО 4301. Рабочее напряжение 380 В.
Краны отработаны, надёжны и предназначены (если не оговорено особо) для эксплуатации в помещении или на открытом воздухе при температуре от -40 до +40(0)С. Краны изготавливаются, как правило, в климатическом исполнении У, а другие исполнения должны быть оговорены при заказе. Сейсмичность района установки - до 6 баллов по СниП II-7-81.
- Базовое исполнение кранов - общепромышленное.
- Возможна установка тиристорного преобразователя в цепи управления краном, что обеспечивает плавность пуска крана и больший срок его службы.
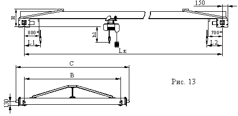
Размеры и другие параметры даны на рис. 13 и табл. 13, 14, 15.
Таблица 13 Краны грузоподъёмностью 1 и 2 т
Скачать документ нельзя - можно заказать Бесплатно! 1 документ
Документ будет отправлен на указанный Вами e-mail в течение 3 рабочих дней*
Часы работы: с Пн по Пт с 8:30 до 17:30 по московскому времени.
или
Посмотреть возможности крупнейшей электронной библиотеки "Техэксперт" - более 8 000 000 документов!



