Зубчатый упор
Список продуктов
Данный раздел/документ содержится в продуктах:
Данный раздел/документ содержится в продуктах:
- Техэксперт: Охрана труда
- Техэксперт: Промышленная безопасность
- Техэксперт: Пожарная безопасность
- Техэксперт: Нормы, правила, стандарты и законодательство России
- Техэксперт: Нефтегазовый комплекс
- Техэксперт: Машиностроительный комплекс
- Техэксперт: Электроэнергетика
- Техэксперт: Теплоэнергетика
- Стройэксперт. "Вариант Лидер"
- Техэксперт: Эксплуатация зданий
- Стройтехнолог
ЗУБЧАТЫЙ УПОР (БЕНЗОИНСТРУМЕНТА)
en spiked bumper
fr griffe d'abattage
Устройство, служащее опорой при пилении
"ГОСТ Р 50692-94 (ИСО 6531-82) Пилы бензиномоторные цепные. Термины и определения" от 07.07.1994 г.
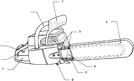
ЗУБЧАТЫЙ УПОР
(spiked bumper)
Устройство, установленное в передней части места крепления направляющей шины, служащее упором для качания при пилении ствола или хлыста (рисунки 101 и 102).
1 - рычаг тормоза цепи; 2 - чехол направляющей шины; 3 - зубчатый упор; 4 - направляющая шина; 5 - пильная цепь; 6 - цепеуловитель; 7 - защитное устройство задней рукоятки; 8 - задняя рукоятка; 9 - пусковая клавиша выключателя; 10 - передняя рукоятка



