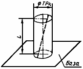
Поле допуска перпендикулярности оси (или прямой) относительно плоскости
Список продуктов
Данный раздел/документ содержится в продуктах:
Данный раздел/документ содержится в продуктах:
- Техэксперт: Нормы, правила, стандарты и законодательство России
- Техэксперт: Нефтегазовый комплекс
- Техэксперт: Машиностроительный комплекс
ПОЛЕ ДОПУСКА ПЕРПЕНДИКУЛЯРНОСТИ ОСИ (ИЛИ ПРЯМОЙ) ОТНОСИТЕЛЬНО ПЛОСКОСТИ
1) Область в пространстве, ограниченная цилиндром, диаметр которого равен допуску перпендикулярности , а ось перпендикулярна к базовой плоскости
2) Область в пространстве, ограниченная прямоугольным параллелепипедом, стороны сечения которого равны допускам перпендикулярности оси (прямой) в двух заданных взаимно перпендикулярных направлениях и
, боковые грани перпендикулярны к базовой плоскости и плоскостям заданных направлений



