Участок базирования
Список продуктов
Данный раздел/документ содержится в продуктах:
Данный раздел/документ содержится в продуктах:
- Техэксперт: Нормы, правила, стандарты и законодательство России
- Техэксперт: Нефтегазовый комплекс
- Техэксперт: Машиностроительный комплекс
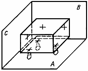
УЧАСТОК БАЗИРОВАНИЯ
Точка, линия или ограниченная площадь на базовой поверхности детали, в которых должен быть обеспечен контакт детали с базирующими элементами обрабатывающего или контрольного оборудования с целью установления баз, необходимых для удовлетворения функциональных требований
1. Участки базирования должны быть заданы размерами, определяющими их протяженность и расположение на базе.
2. В случаях, когда участки базирования необходимо задать для комплекта баз из трех взаимно перпендикулярных плоскостей (см. чертеж), первая база (база А) должна задаваться тремя участками базирования, вторая база (база В) - двумя и третья база (база С) - одним участком базирования



