0 продуктов

Авторизация

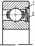
Защитная шайба

Список продуктов
Данный раздел/документ содержится в продуктах:


ЗАЩИТНАЯ ШАЙБА

Деталь радиального подшипника качения, устанавливаемая в канавке с одной или двух сторон наружного кольца и не имеющая контакта с внутренним кольцом подшипника

           



1 - канавка под защитную шайбу; 2 - защитная шайба

"ГОСТ 24955-81 (СТ СЭВ 1473-78) Подшипники качения. Термины и определения" от 28.09.1981 г.

Категории продуктов

 

 

 

Знакомьтесь, "Техэксперт"

 Техэксперт для iPad

 Для Android

АКЦИЯ!

Бесплатный доступ