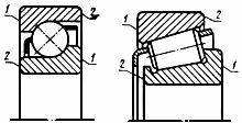
Широкий торец радиально-упорного подшипника качения
Список продуктов
Данный раздел/документ содержится в продуктах:
Данный раздел/документ содержится в продуктах:
- Техэксперт: Нормы, правила, стандарты и законодательство России
- Техэксперт: Нефтегазовый комплекс
- Техэксперт: Машиностроительный комплекс
ШИРОКИЙ ТОРЕЦ РАДИАЛЬНО-УПОРНОГО ПОДШИПНИКА КАЧЕНИЯ
Широкий торец
Торец наружного или внутреннего кольца радиально-упорного подшипника качения, который воспринимает осевую нагрузку
1 - широкий торец; 2 - узкий торец
"ГОСТ 24955-81 (СТ СЭВ 1473-78) Подшипники качения. Термины и определения" от 28.09.1981 г.



