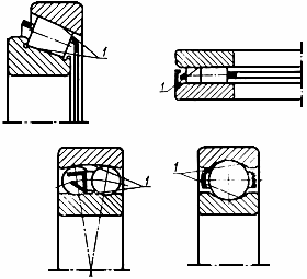
Дорожка качения
Список продуктов
Данный раздел/документ содержится в продуктах:
Данный раздел/документ содержится в продуктах:
- Техэксперт: Нормы, правила, стандарты и законодательство России
- Техэксперт: Нефтегазовый комплекс
- Техэксперт: Машиностроительный комплекс
ДОРОЖКА КАЧЕНИЯ
Поверхность кольца подшипника качения, по которой катятся тела качения
Примечание. Дорожка качения может иметь форму желоба, цилиндра, конуса, плоскости или сферы
1 - дорожка качения
"ГОСТ 24955-81 (СТ СЭВ 1473-78) Подшипники качения. Термины и определения" от 28.09.1981 г.



