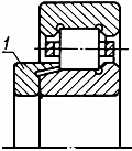
Фасонное упорное кольцо
Список продуктов
Данный раздел/документ содержится в продуктах:
Данный раздел/документ содержится в продуктах:
- Техэксперт: Нормы, правила, стандарты и законодательство России
- Техэксперт: Нефтегазовый комплекс
- Техэксперт: Машиностроительный комплекс
ФАСОННОЕ УПОРНОЕ КОЛЬЦО
Деталь фасонной формы радиального роликового подшипника качения, прилегающая к торцу внутреннего кольца и выполняющая функцию бортика
.
1 - фасонное упорное кольцо
"ГОСТ 24955-81 (СТ СЭВ 1473-78) Подшипники качения. Термины и определения" от 28.09.1981 г.



