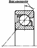
Угол контакта
Список продуктов
Данный раздел/документ содержится в продуктах:
Данный раздел/документ содержится в продуктах:
- Техэксперт: Нормы, правила, стандарты и законодательство России
- Техэксперт: Нефтегазовый комплекс
- Техэксперт: Машиностроительный комплекс
- Техэксперт: Электроэнергетика
- Техэксперт: Теплоэнергетика
- Стройэксперт. "Вариант Лидер"
- Техэксперт: Эксплуатация зданий
- Стройтехнолог
УГОЛ КОНТАКТА
Угол между радиальным направлением и прямой линией, проходящей через точки контакта тел качения с дорожками качения колец подшипника в осевом сечении подшипника; для дорожки качения с прямолинейной образующей - угол между радиальным направлением и линией, перпендикулярной к образующей дорожки качения наружного кольца
"ГОСТ 24955-81 (СТ СЭВ 1473-78) Подшипники качения. Термины и определения" от 28.09.1981 г.
УГОЛ КОНТАКТА
En. contact angle
Угол, образуемый пересечением касательных на границе твердой, жидкой и газообразной сред, представляющих собой материал контактной линзы, известную жидкость и воздух, в заданных условиях.



