Колонна грузоподъемного крана
Список продуктов
Данный раздел/документ содержится в продуктах:
Данный раздел/документ содержится в продуктах:
- Техэксперт: Охрана труда
- Техэксперт: Промышленная безопасность
- Техэксперт: Нормы, правила, стандарты и законодательство России
- Техэксперт: Нефтегазовый комплекс
- Техэксперт: Машиностроительный комплекс
- Техэксперт: Электроэнергетика
- Техэксперт: Теплоэнергетика
- Стройэксперт. "Вариант Лидер"
- Техэксперт: Эксплуатация зданий
- Стройтехнолог
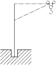
КОЛОННА ГРУЗОПОДЪЕМНОГО КРАНА
(E) Pillar
(F)
Вертикальная конструкция, поддерживающая поворотную стрелу с рабочим грузом и обеспечивающая необходимую высоту подъема
"ГОСТ 27555-87 Краны грузоподъемные. Термины и определения" от 24.12.1987 г.
КОЛОННА ГРУЗОПОДЪЕМНОГО КРАНА
(Е) Pillar
Вертикальная конструкция, поддерживающая поворотную стрелу с рабочим грузом и обеспечивающая необходимую высоту подъема



