0 продуктов

Авторизация

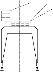
Портал грузоподъемного крана

Список продуктов
Данный раздел/документ содержится в продуктах:


     ПОРТАЛ ГРУЗОПОДЪЕМНОГО КРАНА

     (E) Portal

     (F) Portique

     Конструкция, имеющая приподнятую ходовую раму, опирающуюся посредством стоек или непосредственно на крановый путь
     

"ГОСТ 27555-87 Краны грузоподъемные. Термины и определения" от 24.12.1987 г.


ПОРТАЛ ГРУЗОПОДЪЕМНОГО КРАНА

(Е) Portal

Несущая конструкция, опирающаяся посредством стоек на крановый путь или другое основание и предназначенная для пропуска железнодорожного или автомобильного транспорта



"ГОСТ 33709.1-2015 Краны грузоподъемные. Словарь. Часть 1. Общие положения" от 08.06.2016 г.

Категории продуктов

 

 

 

Знакомьтесь, "Техэксперт"

 Техэксперт для iPad

 Для Android

АКЦИЯ!

Бесплатный доступ