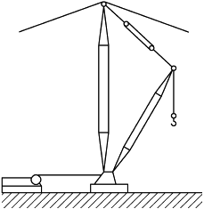
Кран мачтовый вантовый
Список продуктов
Данный раздел/документ содержится в продуктах:
Данный раздел/документ содержится в продуктах:
- Техэксперт: Охрана труда
- Техэксперт: Промышленная безопасность
- Техэксперт: Нормы, правила, стандарты и законодательство России
- Техэксперт: Нефтегазовый комплекс
- Техэксперт: Машиностроительный комплекс
- Техэксперт: Электроэнергетика
- Техэксперт: Теплоэнергетика
- Стройэксперт. "Вариант Лидер"
- Техэксперт: Эксплуатация зданий
- Стройтехнолог
КРАН МАЧТОВЫЙ ВАНТОВЫЙ
E. Guy-derrick crane
Кран мачтовый с закреплением верха мачты посредством канатных оттяжек-вантов.
"ГОСТ 27555-87 Краны грузоподъемные. Термины и определения" от 24.12.1987 г.
КРАН МАЧТОВЫЙ ВАНТОВЫЙ
(Е) Guy-derrick crane
Кран мачтовый с закреплением верха мачты посредством канатных оттяжек - вантов



