Кран полукозловой
Список продуктов
Данный раздел/документ содержится в продуктах:
Данный раздел/документ содержится в продуктах:
- Техэксперт: Охрана труда
- Техэксперт: Промышленная безопасность
- Техэксперт: Нормы, правила, стандарты и законодательство России
- Техэксперт: Нефтегазовый комплекс
- Техэксперт: Машиностроительный комплекс
- Техэксперт: Электроэнергетика
- Техэксперт: Теплоэнергетика
- Стройэксперт. "Вариант Лидер"
- Техэксперт: Эксплуатация зданий
- Стройтехнолог
КРАН ПОЛУКОЗЛОВОЙ
(Е) Semi-portal bridge crane
(F) Pont semi-portique
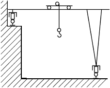
Кран мостового типа, несущие элементы конструкции которого опираются на подкрановый путь, с одной стороны, а с другой - с помощью опорной стойки
"ГОСТ 27555-87 Краны грузоподъемные. Термины и определения" от 24.12.1987 г.
КРАН ПОЛУКОЗЛОВОЙ
(Е) Semi-portal bridge crane
Кран мостового типа, мост которого опирается непосредственно на крановый путь с одной стороны, а с другой - с помощью опорной стойки
"ГОСТ 33709.1-2015 Краны грузоподъемные. Словарь. Часть 1. Общие положения" от 08.06.2016 г.



