Скейтборд
Список продуктов
Данный раздел/документ содержится в продуктах:
Данный раздел/документ содержится в продуктах:
- Техэксперт: Нормы, правила, стандарты и законодательство России
- Техэксперт: Нефтегазовый комплекс
- Техэксперт: Машиностроительный комплекс
СКЕЙТБОРД
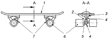
Спортивный инвентарь, состоящий из деки и двух подвесок с парой роликов на каждой, управление которым осуществляет пользователь путем перемещения центра тяжести собственного тела (см. рисунок 1).

1 - дека; 2 - амортизатор подвески; 3 - платформа подвески; 4 - основной болт подвески; 5 - ось; 6 - ролик; 7 - подвеска
Рисунок 1 - Основные элементы скейтборда



