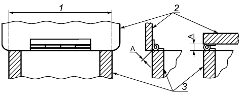
Линия шарнира
Список продуктов
Данный раздел/документ содержится в продуктах:
Данный раздел/документ содержится в продуктах:
- Техэксперт: Нормы, правила, стандарты и законодательство России
- Техэксперт: Нефтегазовый комплекс
- Техэксперт: Машиностроительный комплекс
ЛИНИЯ ШАРНИРА
(hinge line)
Линия, проходящая через ось вращения шарнира или параллельная ей (см. рисунок 2).

1 - линия шарнира; 2 - крышка; 3 - ящик; А - расстояние между краями деталей, соединенных шарниром
Рисунок 2 - Обозначение элементов шарнирной линии



