Высота подъема строительного подъемника
Список продуктов
Данный раздел/документ содержится в продуктах:
Данный раздел/документ содержится в продуктах:
- Техэксперт: Промышленная безопасность
- Техэксперт: Нормы, правила, стандарты и законодательство России
- Техэксперт: Нефтегазовый комплекс
- Техэксперт: Машиностроительный комплекс
- Техэксперт: Электроэнергетика
- Техэксперт: Теплоэнергетика
- Стройэксперт. "Вариант Лидер"
- Техэксперт: Эксплуатация зданий
- Стройтехнолог
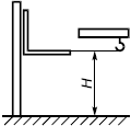
ВЫСОТА ПОДЪЕМА СТРОИТЕЛЬНОГО ПОДЪЕМНИКА
H
Расстояние по вертикали от уровня стоянки подъемника до грузонесущего устройства, находящегося в верхнем положении: при подъеме груза и/или людей в кабине, на платформе или в люльке - до уровня пола грузонесущего устройства; при подъеме груза на грузозахватном устройстве - до опорной поверхности крюка



