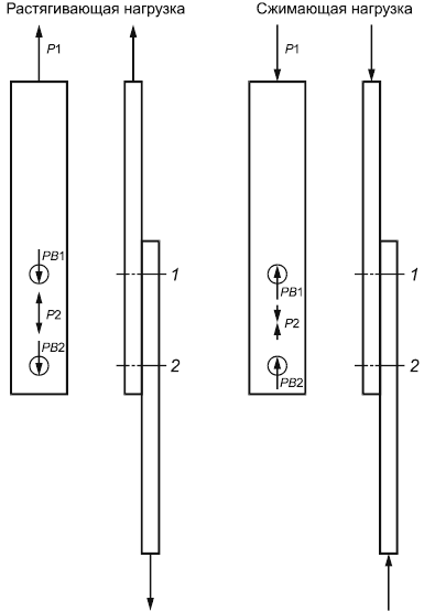
Максимально допустимая трансферная прочность в полном поперечном сечении
Список продуктов
Данный раздел/документ содержится в продуктах:
Данный раздел/документ содержится в продуктах:
- Техэксперт: Нормы, правила, стандарты и законодательство России
- Техэксперт: Нефтегазовый комплекс
- Техэксперт: Машиностроительный комплекс
- Стройэксперт. "Вариант Лидер"
- Техэксперт: Эксплуатация зданий
- Стройтехнолог
МАКСИМАЛЬНО ДОПУСТИМАЯ ТРАНСФЕРНАЯ ПРОЧНОСТЬ В ПОЛНОМ ПОПЕРЕЧНОМ СЕЧЕНИИ
(ultimate gross bypass strength)
Наибольшее значение трансферного напряжения в полном поперечном сечении, предшествующее разрушению образца (см. рисунок 1).
|
1, 2 - отверстия; |



