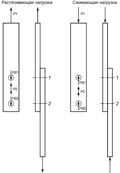
Трансферное напряжение в полном поперечном сечении
Список продуктов
Данный раздел/документ содержится в продуктах:
Данный раздел/документ содержится в продуктах:
- Техэксперт: Нормы, правила, стандарты и законодательство России
- Техэксперт: Нефтегазовый комплекс
- Техэксперт: Машиностроительный комплекс
- Стройэксперт. "Вариант Лидер"
- Техэксперт: Эксплуатация зданий
- Стройтехнолог
ТРАНСФЕРНОЕ НАПРЯЖЕНИЕ В ПОЛНОМ ПОПЕРЕЧНОМ СЕЧЕНИИ
(gross bypass stress)
Напряжение растяжения/сжатия, вызванное нагрузкой, действующей в сечении образца до и между отверстиями (см. рисунок 1).
|
1, 2 - отверстия; |



