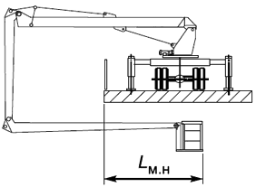
Номинальный вылет под мост подъемника с рабочей платформой
Список продуктов
Данный раздел/документ содержится в продуктах:
Данный раздел/документ содержится в продуктах:
- Техэксперт: Промышленная безопасность
- Техэксперт: Нормы, правила, стандарты и законодательство России
- Техэксперт: Нефтегазовый комплекс
- Техэксперт: Машиностроительный комплекс
- Стройэксперт. "Вариант Лидер"
- Техэксперт: Эксплуатация зданий
- Стройтехнолог
НОМИНАЛЬНЫЙ ВЫЛЕТ ПОД МОСТ ПОДЪЕМНИКА С РАБОЧЕЙ ПЛАТФОРМОЙ
Наибольшее расстояние по горизонтали от края моста до наружного ограждения рабочей платформы
"ГОСТ 33650-2015 Подъемники с рабочими платформами. Термины и определения" от 02.06.2016 г.



