Лестница подъемника с рабочей платформой
Список продуктов
Данный раздел/документ содержится в продуктах:
Данный раздел/документ содержится в продуктах:
- Техэксперт: Промышленная безопасность
- Техэксперт: Нормы, правила, стандарты и законодательство России
- Техэксперт: Нефтегазовый комплекс
- Техэксперт: Машиностроительный комплекс
- Стройэксперт. "Вариант Лидер"
- Техэксперт: Эксплуатация зданий
- Стройтехнолог
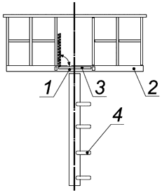
ЛЕСТНИЦА ПОДЪЕМНИКА С РАБОЧЕЙ ПЛАТФОРМОЙ
Конструкция для подъема (спуска) на рабочую платформу

1 - люк; 2 - пол; 3 - крышка; 4 - лестница
"ГОСТ 33650-2015 Подъемники с рабочими платформами. Термины и определения" от 02.06.2016 г.



