0 продуктов

Авторизация

Люк подъемника с рабочей платформой

Список продуктов
Данный раздел/документ содержится в продуктах:


ЛЮК ПОДЪЕМНИКА С РАБОЧЕЙ ПЛАТФОРМОЙ

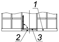
Проем с крышкой в полу для входа на рабочую платформу





1 - ограждение; 2 - пол; 3 - крышка

"ГОСТ 33650-2015 Подъемники с рабочими платформами. Термины и определения" от 02.06.2016 г.

Категории продуктов

 

 

 

Знакомьтесь, "Техэксперт"

 Техэксперт для iPad

 Для Android

АКЦИЯ!

Бесплатный доступ