Раздвижная рабочая платформа подъемника
Список продуктов
Данный раздел/документ содержится в продуктах:
Данный раздел/документ содержится в продуктах:
- Техэксперт: Промышленная безопасность
- Техэксперт: Нормы, правила, стандарты и законодательство России
- Техэксперт: Нефтегазовый комплекс
- Техэксперт: Машиностроительный комплекс
- Стройэксперт. "Вариант Лидер"
- Техэксперт: Эксплуатация зданий
- Стройтехнолог
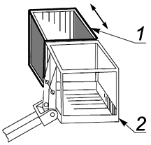
РАЗДВИЖНАЯ РАБОЧАЯ ПЛАТФОРМА ПОДЪЕМНИКА
Рабочая платформа, состоящая из основной и вспомогательной платформ и имеющая возможность увеличения площади пола в процессе работы за счет выдвижения вспомогательной платформы

1 - вспомогательная платформа; 2 - основная платформа
"ГОСТ 33650-2015 Подъемники с рабочими платформами. Термины и определения" от 02.06.2016 г.



