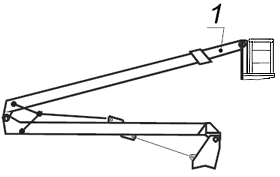
Верхняя секция подъемника с рабочей платформой
Список продуктов
Данный раздел/документ содержится в продуктах:
Данный раздел/документ содержится в продуктах:
- Техэксперт: Промышленная безопасность
- Техэксперт: Нормы, правила, стандарты и законодательство России
- Техэксперт: Нефтегазовый комплекс
- Техэксперт: Машиностроительный комплекс
- Стройэксперт. "Вариант Лидер"
- Техэксперт: Эксплуатация зданий
- Стройтехнолог
ВЕРХНЯЯ СЕКЦИЯ ПОДЪЕМНИКА С РАБОЧЕЙ ПЛАТФОРМОЙ
Секция стрелы, связанная с промежуточной секцией, на которой закреплена рабочая платформа

1 - верхняя секция
"ГОСТ 33650-2015 Подъемники с рабочими платформами. Термины и определения" от 02.06.2016 г.



