0 продуктов

Авторизация

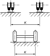
Колея крана

Список продуктов
Данный раздел/документ содержится в продуктах:


КОЛЕЯ КРАНА

К

(Е) Track centers

Расстояние по горизонтали между осями рельсов или колее (гусениц) ходовой части крана



"ГОСТ 33709.1-2015 Краны грузоподъемные. Словарь. Часть 1. Общие положения" от 08.06.2016 г.

Категории продуктов

 

 

 

Знакомьтесь, "Техэксперт"

 Техэксперт для iPad

 Для Android

АКЦИЯ!

Бесплатный доступ