Подход крана
Список продуктов
Данный раздел/документ содержится в продуктах:
Данный раздел/документ содержится в продуктах:
- Техэксперт: Промышленная безопасность
- Техэксперт: Нормы, правила, стандарты и законодательство России
- Техэксперт: Нефтегазовый комплекс
- Техэксперт: Машиностроительный комплекс
- Стройэксперт. "Вариант Лидер"
- Техэксперт: Эксплуатация зданий
- Стройтехнолог
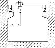
ПОДХОД КРАНА
С
(Е) Hook approach
Минимальное расстояние по горизонтали от оси кранового рельса до вертикальной оси грузозахватного органа
"ГОСТ 33709.1-2015 Краны грузоподъемные. Словарь. Часть 1. Общие положения" от 08.06.2016 г.



