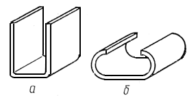
Деталь с однонаправленными изгибами
Список продуктов
Данный раздел/документ содержится в продуктах:
Данный раздел/документ содержится в продуктах:
- Техэксперт: Нормы, правила, стандарты и законодательство России
- Техэксперт: Нефтегазовый комплекс
- Техэксперт: Машиностроительный комплекс
ДЕТАЛЬ С ОДНОНАПРАВЛЕННЫМИ ИЗГИБАМИ
Деталь, изгибы которой направлены в одну сторону только по часовой стрелке или только против нее (эскизы а, б)



