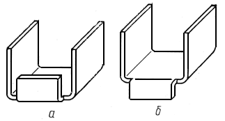
Деталь с прямыми непараллельными осями изгибов
Список продуктов
Данный раздел/документ содержится в продуктах:
Данный раздел/документ содержится в продуктах:
- Техэксперт: Нормы, правила, стандарты и законодательство России
- Техэксперт: Нефтегазовый комплекс
- Техэксперт: Машиностроительный комплекс
ДЕТАЛЬ С ПРЯМЫМИ НЕПАРАЛЛЕЛЬНЫМИ ОСЯМИ ИЗГИБОВ
Деталь, у которой оси изгибов непараллельны между собой (эскизы а, б)



