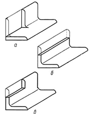
Деталь со срезами полок
Список продуктов
Данный раздел/документ содержится в продуктах:
Данный раздел/документ содержится в продуктах:
- Техэксперт: Нормы, правила, стандарты и законодательство России
- Техэксперт: Нефтегазовый комплекс
- Техэксперт: Машиностроительный комплекс
ДЕТАЛЬ СО СРЕЗАМИ ПОЛОК
Деталь из профильного материала (уголка, швеллера и др.), у которой полка срезана на всю высоту, но не на всю длину (эскиз а ), или на всю длину, но не на всю высоту (эскиз б), или не на всю длину и не на всю высоту с краю детали (эскиз в)



