Деталь - не тело вращения с элементами тел вращения
Список продуктов
Данный раздел/документ содержится в продуктах:
Данный раздел/документ содержится в продуктах:
- Техэксперт: Нормы, правила, стандарты и законодательство России
- Техэксперт: Нефтегазовый комплекс
- Техэксперт: Машиностроительный комплекс
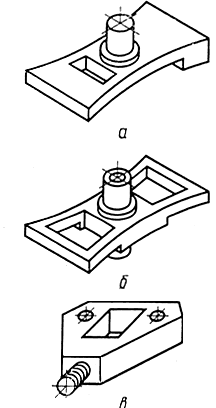
ДЕТАЛЬ - НЕ ТЕЛО ВРАЩЕНИЯ С ЭЛЕМЕНТАМИ ТЕЛ ВРАЩЕНИЯ
Деталь, у которой размер по оси элемента тела вращения меньше наибольшего размера детали (эскизы а, б, в)



