0 продуктов

Авторизация

Контур вогнутый

Список продуктов
Данный раздел/документ содержится в продуктах:


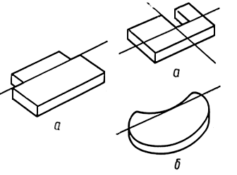
КОНТУР ВОГНУТЫЙ

Контур детали, у которого продолжение любой стороны (при прямолинейном контуре) или касательная проведенная в любой точке (при криволинейном контуре), пересекают площадь детали (эскизы а, б)



Постановление Госстандарта СССР от 06.09.1979 г. N 100 "ОК 012-93 Классификатор ЕСКД. Классы 71, 72, 73, 74, 75, 76. Приложение. Алфавитно-предметный указатель. Термины и толкования. Перечень сокращений слов. Условные обозначения 1.79.100 (с изменениями)"

Категории продуктов

 

 

 

Знакомьтесь, "Техэксперт"

 Техэксперт для iPad

 Для Android

АКЦИЯ!

Бесплатный доступ