0 продуктов

Авторизация

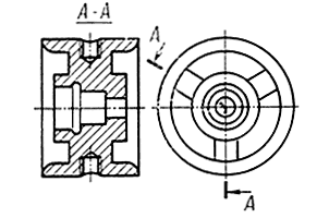
Кольцевой паз на торце детали - тела вращения

Список продуктов
Данный раздел/документ содержится в продуктах:


КОЛЬЦЕВОЙ ПАЗ НА ТОРЦЕ ДЕТАЛИ - ТЕЛА ВРАЩЕНИЯ

Кольцевая выемка (углубление) на торце детали с любой формой поперечного сечения и любой глубины (эскизы , б, в). К деталям с кольцевыми выемками также относятся детали типа шкивов, имеющие ребра (спицы - эскиз г)







Постановление Госстандарта СССР от 06.09.1979 г. N 100 "ОК 012-93 Классификатор ЕСКД. Классы 71, 72, 73, 74, 75, 76. Приложение. Алфавитно-предметный указатель. Термины и толкования. Перечень сокращений слов. Условные обозначения 1.79.100 (с изменениями)"

Категории продуктов

 

 

 

Знакомьтесь, "Техэксперт"

 Техэксперт для iPad

 Для Android

АКЦИЯ!

Бесплатный доступ