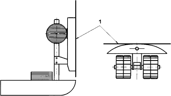
Базовая плоскость спинки сиденья (кресла-коляски)
Список продуктов
Данный раздел/документ содержится в продуктах:
Данный раздел/документ содержится в продуктах:
- Техэксперт: Нормы, правила, стандарты и законодательство России
- Техэксперт: Нефтегазовый комплекс
- Техэксперт: Машиностроительный комплекс
БАЗОВАЯ ПЛОСКОСТЬ СПИНКИ СИДЕНЬЯ (КРЕСЛА-КОЛЯСКИ)
(backrest reference plane)
Плоскость касательная к средней вертикальной линии наружной изогнутой стороны узла спинки эталонного нагружающего устройства, как показано на рисунке 2.

1 - базовая плоскость спинки
Рисунок 2 - Базовая плоскость спинки



