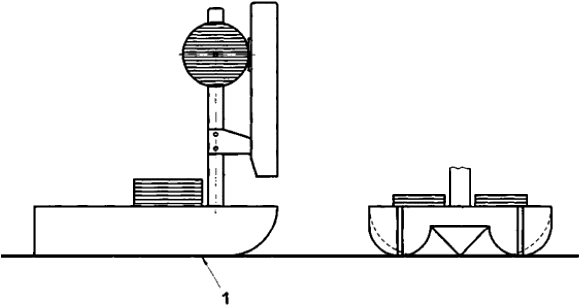
Базовая плоскость сиденья (кресла-коляски)
Список продуктов
Данный раздел/документ содержится в продуктах:
Данный раздел/документ содержится в продуктах:
- Техэксперт: Нормы, правила, стандарты и законодательство России
- Техэксперт: Нефтегазовый комплекс
- Техэксперт: Машиностроительный комплекс
БАЗОВАЯ ПЛОСКОСТЬ СИДЕНЬЯ (КРЕСЛА-КОЛЯСКИ)
(seat reference plane)
Плоскость основания узла сиденья эталонного нагружающего устройства, как показано на рисунке 1.

1 - базовая плоскость сиденья
Рисунок 1 - Базовая плоскость сиденья



