Анкерное устройство типа D
Список продуктов
Данный раздел/документ содержится в продуктах:
Данный раздел/документ содержится в продуктах:
- Техэксперт: Охрана труда
- Техэксперт: Нормы, правила, стандарты и законодательство России
- Техэксперт: Нефтегазовый комплекс
- Техэксперт: Машиностроительный комплекс
АНКЕРНОЕ УСТРОЙСТВО ТИПА D
(type D anchor device)
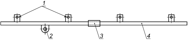
Анкерное устройство с жесткой анкерной линией, которая отклоняется от горизонтали не более чем на 15° (при измерении между крайними и промежуточными анкерами в любой точке вдоль ее длины) (см. рисунок 7).
1 - крайний или промежуточный анкер; 2 - мобильная точка крепления; 3 - неподвижная деталь жесткой анкерной линии; 4 - жесткая анкерная линия
Рисунок 7 - Пример анкерного устройства типа D



