Анкерное устройство типа A
Данный раздел/документ содержится в продуктах:
- Техэксперт: Охрана труда
- Техэксперт: Нормы, правила, стандарты и законодательство России
- Техэксперт: Нефтегазовый комплекс
- Техэксперт: Машиностроительный комплекс
АНКЕРНОЕ УСТРОЙСТВО ТИПА A
(type A anchor device)
Анкерное устройство с одной или несколькими стационарными точками крепления во время их использования, а также с необходимостью наличия анкера(ов) или фиксирующего(их) элемента(ов) для фиксации к структуре (см. рисунки 3 и 4).
Примечание - Точки крепления могут вращаться или поворачиваться во время использования, если они разработаны с таким назначением.
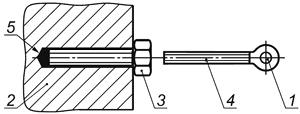
1 - точка крепления; 2 - структура; 3 - фиксирующий элемент; 4 - анкерное устройство; 5 - элемент
Рисунок 3 - Пример анкерного устройства типа A с фиксирующим элементом
1 - точка крепления; 2 - структура; 3 - структурный анкер; 4 - анкерное устройство; 5 - стационарная фиксация
Рисунок 4 - Пример анкерного устройства типа A со структурным анкером



