Анкерная система
Список продуктов
Данный раздел/документ содержится в продуктах:
Данный раздел/документ содержится в продуктах:
- Техэксперт: Охрана труда
- Техэксперт: Нормы, правила, стандарты и законодательство России
- Техэксперт: Нефтегазовый комплекс
- Техэксперт: Машиностроительный комплекс
АНКЕРНАЯ СИСТЕМА
(anchor system)
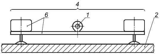
Система для использования в качестве части оборудования индивидуальной защиты от падения с высоты, включающая в себя точку или точки крепления, и/или анкерное устройство, и/или элемент, и/или фиксирующий элемент, и/или структурный анкер (см. рисунок 1).
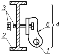
Примечание - Анкерные системы, которые не могут быть отсоединены от структуры (конструкции), в настоящем стандарте не рассматриваются (см. рисунок 2).
Рисунок 1а
Рисунок 1b
Рисунок 1с



