Точка P (кресла-коляски)
Список продуктов
Данный раздел/документ содержится в продуктах:
Данный раздел/документ содержится в продуктах:
- Техэксперт: Нормы, правила, стандарты и законодательство России
- Техэксперт: Нефтегазовый комплекс
- Техэксперт: Машиностроительный комплекс
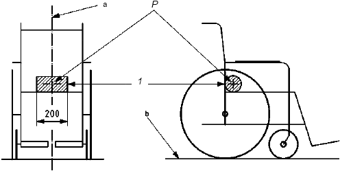
ТОЧКА P (КРЕСЛА-КОЛЯСКИ)
(point P)
Базовая точка, которая находится в центре поперечного сечения цилиндра диаметром 100 мм и длиной 200 мм, с продольной осью перпендикулярной базовой плоскости кресла-коляски, и расположенного так, что криволинейная поверхность цилиндра контактирует со спинкой сиденья и сиденьем. См. рисунок 1.

Базовая плоскость кресла-коляски.
Плоскость основания кресла-коляски.



